Nintendo NX – tak będzie wyglądała konsola i jej nietypowy kontroler?
Nowy patent od big N właśnie został opublikowany w sieci.
Wciąż zastanawiamy się, czym zaskoczy japoński producent przedstawiając Nintendo NX. Ostatnie spekulacje wskazują, że konsolę możemy zobaczyć już za miesiąc, tuż po rzekomym ujawnieniu PlayStation 4 NEO. Oczywiście to jedynie plotka, więc należy podchodzić do niej z dużym dystansem.
Pewne wyobrażenie na temat nadchodzącej konsoli przedstawił pod koniec lipca brytyjski Eurogamer. Serwis twierdzi, że nadchodząca konsola będzie sprzętem przenośnym, do którego można podłączyć kontrolery i potraktować go jako sprzęt stacjonarny, grając na telewizorze.
Scenariusz z dołączanymi kontrolerami wydaje się całkiem prawdopodobny, zwłaszcza jeśli spojrzymy na najnowszy patent Nintendo, który został zgłoszony do Amerykańskiego Urzędu Patentowego jeszcze w styczniu, lecz dopiero dzisiaj został opublikowany. Kto chce zagłębić się w szczegóły, całą publikację znajdzie na tej stronie.
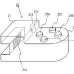
Patent dotyczy kontrolera dołączanego do sprzętu za pomocą wejścia, które jest kamerą termowizyjną. Pad nie będzie zatem korzystał z połączenia elektrycznego, a wszystkie ruchy przycisków ma kontrolować oko obiektywu. Jeśli kontroler nie będzie podłączony do sprzętu, kamera posłuży np. do odczytywania gestów gracza, wykonywanych dłonią. Przykładem może być tutaj popularna zabawa w kamień nożyczki papier. Poniżej możecie przejrzeć szkice, wyciągnięte z najnowszego patentu.
Powstaje oczywiście pytanie, czy to co widzimy na obrazkach jest po prostu kolejnym patentem, który jest wykonany na przyszłość, czy też może poznaliśmy właśnie orientacyjny wygląd pada do Nintendo NX oraz kształt samej konsoli? Miejmy nadzieję, że big N nie będzie kazało nam długo czekać na potwierdzenie bądź obalenie tej teorii.
Chcielibyście, by to rzeczywiście było Nintendo NX?
Nintendo NX konsolą przenośną, którą podłączysz do telewizora?
Nintendo NX zadebiutuje na rynku w marcu przyszłego roku i to w zasadzie jedyna oficjalna informacja na temat nowej konsoli od japońskiego producenta. Wcześniej mieliśmy jednak kilka spekulacji oraz plotek na temat tego, że nadchodząca platforma połączy granie mobilne ze stacjonarnym.
Taki scenariusz potwierdza brytyjski Eurogamer, który powołując się na swoje źródła donosi, że Nintendo NX to w zasadzie konsola przenośna, do której będziemy mogli jednak podłączyć kontrolery i potraktować ją jako sprzęt stacjonarny (powyższa grafika nie reprezentuje wyglądu konsoli). Co konkretnie ustalił wspomniany portal? Oto szczegóły w pigułce:
- Nintendo NX będzie konsolą przenośną;
- Do konsoli podłączymy pady;
- Konsolę będzie można podłączyć do TV używając dedykowanej stacji dokującej;
- Nośnikiem gier na Nintendo NX mają być kartridże, których pojemność ma wynosić prawdopodobnie 32 GB. Z tego też względu zakłada się, że część danych będziemy nadal pobierać z sieci;
- Sercem Nintendo NX będzie prawdopodobnie procesor Tegra X1 od Nvidia (przynajmniej w taki są uzbrojone obecne konsole deweloperskie);
- Nintendo NX powinno zostać pokazane publicznie we wrześniu tego roku;
- Możliwe, że konsola dostanie całkiem nowy system operacyjny;
- Kompatybilność wsteczna prawdopodobnie nie wchodzi w grę.
Wygląda zatem na to, że Nintendo szykuje sprzęt typowo przenośny, który opcjonalnie podłączymy pod telewizor. Producent ma w sumie doświadczenie w tym segmencie branży, choć nie ma co ukrywać – konkurencja ze smartfonami i tabletami będzie naprawdę ciężka.
Zaznaczamy jednak, że rewelacje Eurogamera nie są oficjalnymi informacjami od Nintendo, zatem należy do nich podejść z pewną dozą ostrożności. Prawdopodobnie serwis wyciągnął to co przedstawił na swoich łamach od kilku deweloperów, tworzących obecnie gry na nadchodzącą konsolę.
Dajcie mimo wszytko znać czy chcielibyście, by scenariusz z przenośnym Nintendo NX rzeczywiście się sprawdził. Obecnie brakuje na rynku mocnego handhelda, więc kto wie, czy NX nie wypełni wkrótce tej niszy stając się godnym następcą 3DS-a.
Dziękujemy za wsparcie!



