Nowy patent PlayStation mocno ucieszy fanów PS3
W sieci pojawił się kolejny patent zarejestrowany przez PlayStation. Firma faktycznie może szykować wsteczną kompatybilność z PS3.
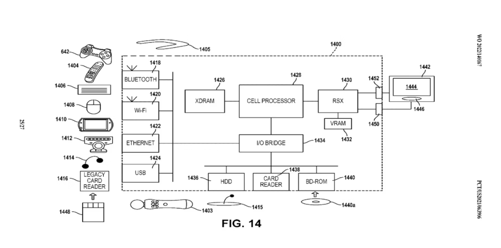
Odnaleziony dokument opisuje sprzęty kompatybilne z PS3, w tym PS Eye, PSP i PS Move (prawdopodobnie w starszej wersji), które miałyby zadziałać z PlayStation 5 dzięki opatentowanej technologii. Bardzo możliwe, że całość mogłaby funkcjonować dzięki emulacji starszej konsoli.
Niewykluczone też, że nie chodzi tu wcale o sprawienie, aby opisane sprzęty działały z PS5. Możliwe, że Sony chce jedynie emulować ich funkcje – na przykład – przy pomocy kontrolera DualSense i/lub innych akcesoriów. Przypominam, że niewiele ze wspomnianych urządzeń można jeszcze kupić, więc przygotowanie ich pełnej emulacji może nie mieć większego sensu z punktu widzenia producenta, bo ciężko będzie na tym zarobić.
Trzeba oczywiście pamiętać, że zgarnięcie patentu nie jest równoznaczne z planami jego realizacji w najbliższej przyszłości. Firmy związane z grami wideo cały czas coś patentują, a pomysły nie zawsze się urzeczywistniają.

Przypominam, że PlayStation nie wypowiedziało się jeszcze oficjalnie na temat emulacji gier z PS3 na PS4 lub PS5. Choć gry z konsoli da się uruchomić poprzez chmurę, ich pobranie i standardowe uruchomienie na PS4 lub PS5 nie wchodzi na ten moment w grę. Plotki mówią jednak, że Sony pracuje już nad pełnoprawną emulacją, ale jej przygotowanie może zająć trochę czasu.
Warto pamiętać, że PS3 było bardzo kapryśnym kawałkiem technologii i nawet rozwijane od wielu lat fanowskie emulatory miewają problemy z działaniem. Pozostaje mieć nadzieję, że PlayStation poradzi sobie z takim wyzwaniem… to w końcu twórcy tej konsoli.
Dziękujemy za wsparcie!