PS5 i gry z PS3, PS2 i PS One. Sony myśli o streamingu
PS5 uruchomi gry z PlayStation 4 w ramach wstecznej kompatybilności i póki co nie wspomniano słowem, by objęła ona bibliotekę gier z wcześniejszych generacji. Jednak Japończycy składają patent, który może nam umożliwić ogranie starszych tytułów na next-genie.
Nowych konsol nie kupuje się dla starych gier, lecz pewnie część z Was chciałaby mimo wszystko pobawić się przy klasykach uruchomionych na PS5. Microsoft umożliwi na Xbox Series X odpalanie tytułów z wcześniejszych generacji, a Sony… mówi tylko o tym, że piątka poradzi sobie w dniu premiery z setką gier z PlayStation 4 (w późniejszym czasie biblioteka ma być rozszerzana).
Jest jednak szansa, że na PlayStation 5 zagramy w gry z PS3, PS2 i pierwszego PlayStation, a daje ją patent Sony mówiący o tym, że takie tytuły mogą być streamowane. Gry byłyby przechowywane w chmurze i prawdopodobnie mielibyśmy do nich dostęp za pośrednictwem usługi PlayStation Now (dzięki PSU).
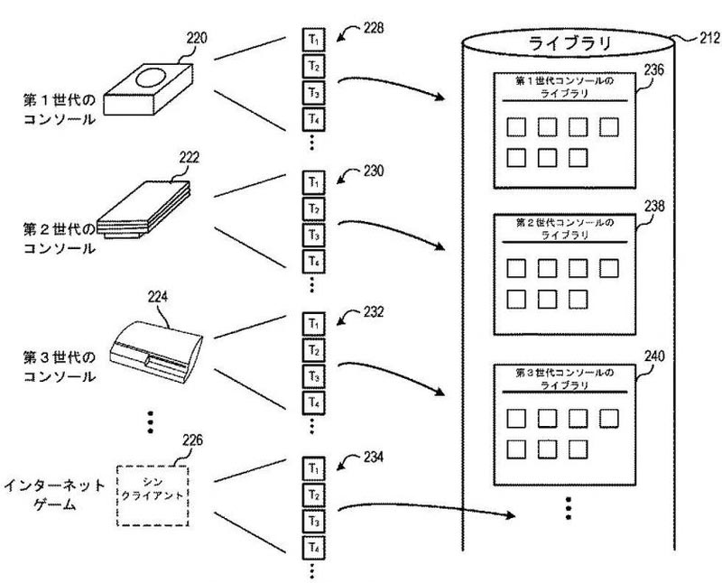
W opisie patentu można przeczytać: Duża liczba tytułów gier na PS1 / PS2 / PS3 i różnych generacji konsol do gier mogą być przechowywane i używane za pośrednictwem biblioteki gier w chmurze. Te gry można uruchamiać na wirtualnej maszynie, która naśladuje system operacyjny związany z każdą konsolą do gier.
Patent został zobrazowany poniższym szkicem:

Możliwe zatem, że gry z PS3, PS2 i PS One trafią na PlayStation 5, ale w ramach usługi PS Now.
Dziękujemy za wsparcie!