PS5 może otrzymać funkcję tworzenia dem i wysyłania znajomym
Z patentu Sony wnika, że producent ma w planach możliwość wycinania działających sekwencji gier i udostępniania ich innym użytkownikom PlayStation. Możliwe, że pomysł zostanie wykorzystany w PS Now lub pojawi się wraz z premierą PS5.
19 maja 2019 roku Sony zarejestrowało w amerykańskim urzędzie patent na system, który ma umożliwić konsolowcom dzielenie się z innymi osobami save’ami i działającymi fragmentami gier, które będzie można łączyć w grywalne dema.
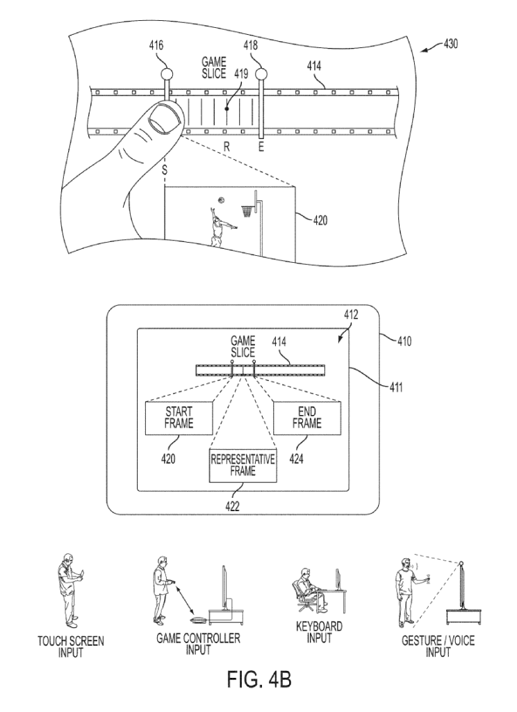
Sony pracuje nad ulepszeniem usługi PlayStation Now, próbując socjalizować graczy. W ramach tej usługi – choć podobno nie na jej wyłączność – producent opracowuje bardzo ciekawe rozwiązanie, które będzie działać podobnie do programów, w których edytujemy filmy. Szkic prezentuje to w ten sposób: użytkownik usługi „wycina” z gry daną sekwencję i udostępnia ją w chmurze dla innych osób. Te będą mogły dodać tam coś od siebie (np. komunikaty czy obrazki). Pojawi się również możliwość łączenia sekwencji w grywalne dema. Po ukończeniu danego dema gracz, do którego zostało ono wysłane, zostanie zachęcony do kupna pełnej wersji tytułu.
System ma działać na wszystkich grach dostępnych w PlayStation Store. Wprowadzenie rozwiązania w życie przy okazji premiery PlayStation 5, która zgodnie z oficjalnymi informacjami ma trafić do sklepów pod koniec 2020, miałoby spory sens. Z drugiej strony, należy pamiętać, że to dopiero szkic projektu, jakkolwiek interesujący. Jeśli pomysł z jakiegoś powodu nie wypali, Sony po prostu zaprzestanie prac – dlatego z ekscytacją trzeba poczekać do jakiegoś oficjalnego komunikatu potwierdzającego wdrożenie patentu.
Dziękujemy za wsparcie!
