PS5 i wsteczna kompatybilność. Odnaleziono patent od Naughty Dog i projektanta PS4
Możemy być coraz bardziej pewni, że Sony zależy na technologii umożliwiającej uruchamianie starszych gier na nowych systemach. To już trzeci patent na kompatybilność wsteczną, która prawdopodobnie zawita na pokładzie PS5.
Liczymy na to, że PS5 i kompatybilność wsteczna pójdą w parze, pozwalając uruchamiać na nowej konsoli tytuły z PlayStation 4. Opisywaliśmy już dwa patenty świadczące o tym, że Sony myśli o takich rozwiązaniach oraz przytaczaliśmy wypowiedź eksperta z Digital Foundry, który na temat next-gena i kompatybilności wstecznej stwierdził: Absolutnie będzie. Zero wątpliwości. Jeśli ktoś ma jeszcze wątpliwości, oto kolejny argument, by je nieco pomniejszyć.
PS5 i wsteczna kompatybilność – trzeci patent ujawniony
Okazuje się (dzięki GamesRadar), że Sony zarejestrowało jeszcze jeden, wcześniej nieopisany przez media patent na kompatybilność wsteczną. Został on zarejestrowany 27 lipca 2015 roku, lecz dopiero niecały tydzień temu publicznie ujawniono dokumentację. Podobnie jak we wcześniejszych patentach, tak i ten nie wspomina, że pomysł powstał na potrzeby PlayStation 5, lecz jest to oczywiście wielce prawdopodobne.
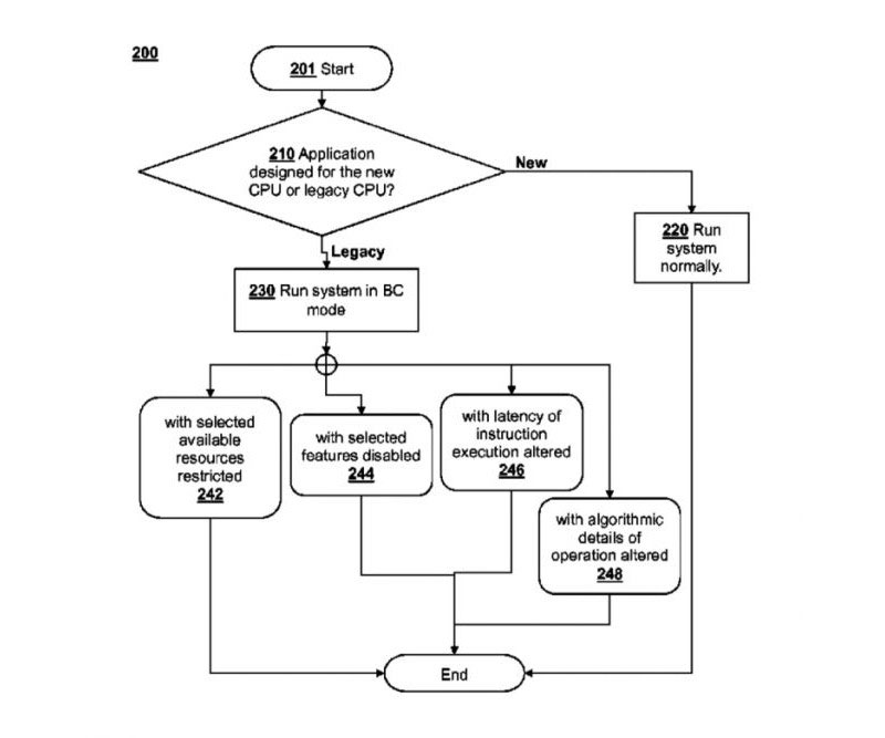
Za patent odpowiada David Simpson ze studia Naughty Dog oraz Mark Cerny, który projektował PlayStation 4. Ich pomysł sprowadza się do tego, że specjalny system wykryje automatycznie, czy dana gra powstała na nowy, czy na starszy system. Jeśli wyjdzie na tę druga opcję, niektóre funkcje procesora zostaną wyłączone, by udawał on CPU, na który produkcja została stworzona.

Oczywiście nie możemy już dzisiaj powiedzieć, że kompatybilność wsteczna na pewno pojawi się w PlayStation 5, lecz wydaje się, że jesteśmy coraz bliżej takiego stwierdzenia.
Dziękujemy za wsparcie!