Sony publikuje patent na kontrolery do PlayStation VR 2. Będzie finger tracking?
Sony opublikowało patent na kontrolery do wirtualnej rzeczywistości, który może zostać wykorzystany w zestawie PS VR 2. Kontrolery przypominają trochę te z Valve Index.
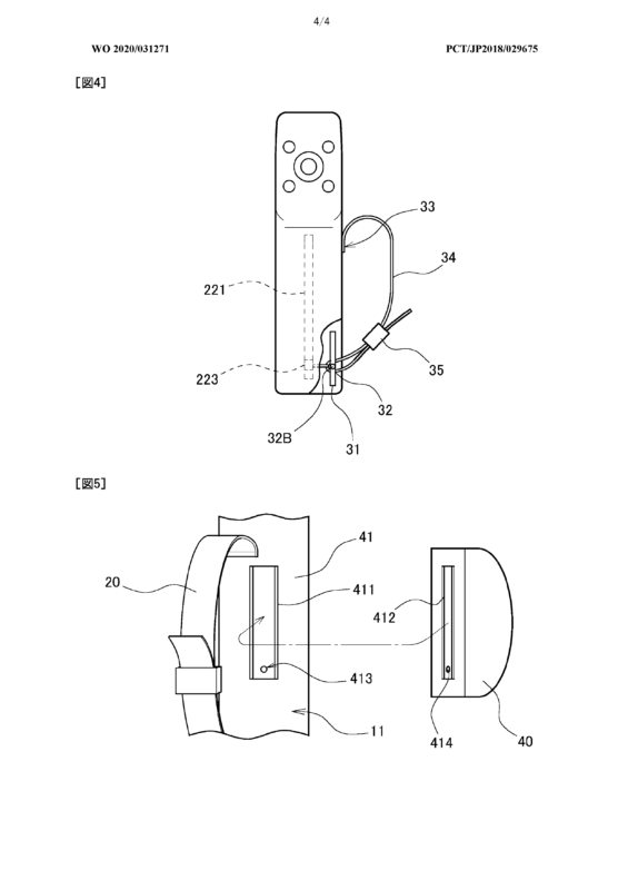
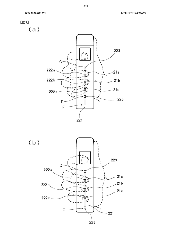
Kilka dni temu japoński producent pokazał na stronie Patentscope patent na kontrolery do VR wraz z paroma rysunkami poglądowymi. Z grafik wynika, że opatentowanym kontrolerom będzie bliżej do tego, co ma Valve Index niż obecny zestaw PS VR. Podstawowa różnica tkwi przede wszystkim w technologii finger tracking.
Kontroler jest wyposażony w boczny pasek, fizyczny spust, cztery przyciski przednie oraz sensory rozpoznawania gestów. W patencie czytamy: „To urządzenie jest przeznaczone do użytkowania manualnego i zawiera kilka czujników wykrywających ruchy palców oraz sensory wspierające.” Funkcjonalność, która pozwala odzwierciedlić w grze gesty użytkownika, nie jest obecna w PS VR, ale ma ją Valve Index. Sony uznało widocznie, że rozwiązanie jest na tyle dobre, że nie trzeba tutaj wymyślać nic nowego i można się tym zainspirować.
Rysunki są oczywiście tylko poglądowe i nie przedstawiają rzeczywistego wyglądu kontrolerów – Sony zapewne zaprojektuje ich wygląd w późniejszym czasie, jeśli zdecyduje się na wdrożenie projektu. Wtedy kontrolery zobaczymy najpewniej w PS VR 2. Nie wiadomo, kiedy zadebiutuje PS VR 2 – na razie japońskie przedsiębiorstwo ma ważniejsze rzeczy na głowie: pod koniec roku ma przede wszystkim odbyć się premiera PS5. Poza tym Sony cały czas inwestuje w obecne zestawy PS VR. Biorąc to pod uwagę, możemy wnioskować, że nowy zestaw do wirtualnej rzeczywistości na PlayStation nieprędko trafi na rynek.
Dziękujemy za wsparcie!

